产品简介
室内自动喷淋稳压泵参照中华人民共和国消防泵标准GB6245-2006 《消防泵性能要求和试验方法》之规定,参考现代优秀的水利模型设计而成,专门用于消防系统的离心泵;产品经国家消防装备质量监督检测中心测试合格,获得消防产品认可证书。产品主要用于消防系统增压送水,也可用于厂矿给排水,产品性能达到国内同类产品的先进水平。
XBD-GDL型立式消防泵主要用于消防系统管道增压送水。也可适用于工业和城市给排水、高层建筑增压送水、远距离送水、采暖、浴室、锅炉冷暖水循环增压空调制冷系统送水及设备配套等场合。
型号意义
产品优势

性能参数
| 序号 | 消防CCC认证型号 |
额定压力 (MPa) |
额定流量 (L/S) |
功率 (KW) |
转速(r/min) |
| 1 | XBD3.2/5G-GDL | 0.32 | 5 | 3 | 2900 |
| 2 | XBD4.0/5G-GDL | 0.40 | 4 | 2900 | |
| 3 | XBD5.0/5G-GDL | 0.50 | 5.5 | 2900 | |
| 4 | XBD6.5/5G-GDL | 0.65 | 7.5 | 2900 | |
| 5 | XBD7.0/5G-GDL | 0.70 | 7.5 | 2900 | |
| 6 | XBD8.0/5G-GDL | 0.80 | 7.5 | 2900 | |
| 7 | XBD9.0/5G-GDL | 0.90 | 7.5 | 2900 | |
| 8 | XBD10.0/5G-GDL | 1.00 | 11 | 2900 | |
| 9 | XBD11.0/5G-GDL | 1.10 | 11 | 2900 | |
| 10 | XBD11.5/5G-GDL | 1.15 | 15 | 2900 | |
| 11 | XBD12.0/5G-GDL | 1.20 | 15 | 2900 | |
| 12 | XBD13.0/5G-GDL | 1.30 | 15 | 2900 | |
| 13 | XBD14.0/5G-GDL | 1.40 | 15 | 2900 | |
| 14 | XBD15.0/5G-GDL | 1.50 | 15 | 2900 | |
| 15 | XBD16.0/5G-GDL | 1.60 | 18.5 | 2900 | |
| 16 | XBD3.2/10G-GDL | 0.32 | 10 | 5.5 | 2900 |
| 17 | XBD4.0/10G-GDL | 0.40 | 7.5 | 2900 | |
| 18 | XBD5.0/10G-GDL | 0.50 | 11 | 2900 | |
| 19 | XBD6.0/10G-GDL | 0.60 | 11 | 2900 | |
| 20 | XBD7.0/10G-GDL | 0.70 | 11 | 2900 | |
| 21 | XBD8.0/10G-GDL | 0.80 | 15 | 2900 | |
| 22 | XBD9.0/10G-GDL | 0.90 | 15 | 2900 | |
| 23 | XBD10.0/10G-GDL | 1.00 | 18.5 | 2900 | |
| 24 | XBD11.0/10G-GDL | 1.10 | 18.5 | 2900 | |
| 25 | XBD12.0/10G-GDL | 1.20 | 18.5 | 2900 | |
| 26 | XBD13.0/10G-GDL | 1.30 | 37 | 2900 | |
| 27 | XBD3.2/15G-GDL | 0.32 | 15 | 11 | 2900 |
| 28 | XBD4.0/15G-GDL | 0.40 | 15 | 2900 | |
| 29 | XBD5.0/15G-GDL | 0.50 | 15 | 2900 | |
| 30 | XBD6.0/15G-GDL | 0.60 | 18.5 | 2900 | |
| 31 | XBD7.0/15G-GDL | 0.70 | 18.5 | 2900 | |
| 32 | XBD7.3/15G-GDL | 0.73 | 30 | 2900 | |
| 33 | XBD8.0/15G-GDL | 0.80 | 30 | 2900 | |
| 34 | XBD9.0/15G-GDL | 0.90 | 30 | 2900 | |
| 35 | XBD10.0/15G-GDL | 1.00 | 30 | 2900 | |
| 36 | XBD11.0/15G-GDL | 1.10 | 30 | 2900 | |
| 37 | XBD12.0/15G-GDL | 1.20 | 30 | 2900 | |
| 38 | XBD13.0/15G-GDL | 1.30 | 37 | 2900 | |
| 39 | XBD14.0/15G-GDL | 1.40 | 37 | 2900 | |
| 40 | XBD15.9/15G-GDL | 1.59 | 45 | 2900 | |
| 41 | XBD3.2/20G-GDL | 0.32 | 20 | 15 | 2900 |
| 42 | XBD4.0/20G-GDL | 0.40 | 15 | 2900 | |
| 43 | XBD5.0/20G-GDL | 0.50 | 18.5 | 2900 | |
| 44 | XBD5.8/20G-GDL | 0.58 | 22 | 2900 | |
| 45 | XBD7.0/20G-GDL | 0.70 | 22 | 2900 | |
| 46 | XBD8.0/20G-GDL | 0.80 | 30 | 2900 | |
| 47 | XBD9.0/20G-GDL | 0.90 | 30 | 2900 | |
| 48 | XBD10.0/20G-GDL | 1.00 | 37 | 2900 | |
| 49 | XBD11.0/20G-GDL | 1.10 | 37 | 2900 | |
| 50 | XBD12.0/20G-GDL | 1.20 | 37 | 2900 | |
| 51 | XBD13.0/20G-GDL | 1.30 | 45 | 2900 | |
| 52 | XBD14.0/20G-GDL | 1.40 | 45 | 2900 | |
| 53 | XBD15.0/20G-GDL | 1.50 | 75 | 2900 | |
| 54 | XBD16.0/20G-GDL | 1.60 | 75 | 2900 | |
| 55 | XBD17.0/20G-GDL | 1.70 | 75 | 2900 | |
| 56 | XBD18.0/20G-GDL | 1.80 | 75 | 2900 | |
| 57 | XBD19.0/20G-GDL | 1.90 | 90 | 2900 | |
| 58 | XBD20.0/20G-GDL | 2.00 | 90 | 2900 | |
| 59 | XBD5.0/25G-GDL | 0.50 | 25 | 30 | 2900 |
| 60 | XBD6.0/25G-GDL | 0.60 | 30 | 2900 | |
| 61 | XBD7.0/25G-GDL | 0.70 | 37 | 2900 | |
| 62 | XBD8.0/25G-GDL | 0.80 | 37 | 2900 | |
| 63 | XBD9.0/25G-GDL | 0.90 | 45 | 2900 | |
| 64 | XBD10.0/25G-GDL | 1.00 | 45 | 2900 | |
| 65 | XBD11.0/25G-GDL | 1.10 | 55 | 2900 | |
| 66 | XBD12.0/25G-GDL | 1.20 | 55 | 2900 | |
| 67 | XBD12.7/25G-GDL | 1.27 | 55 | 2900 | |
| 68 | XBD13.0/25G-GDL | 1.30 | 75 | 2900 | |
| 69 | XBD14.0/25G-GDL | 1.40 | 75 | 2900 | |
| 70 | XBD15.0/25G-GDL | 1.50 | 75 | 2900 | |
| 71 | XBD16.0/25G-GDL | 1.60 | 75 | 2900 | |
| 72 | XBD5.0/30G-GDL | 0.50 | 30 | 30 | 2900 |
| 73 | XBD6.0/30G-GDL | 0.60 | 30 | 2900 | |
| 74 | XBD7.0/30G-GDL | 0.70 | 37 | 2900 | |
| 75 | XBD8.1/30G-GDL | 0.81 | 37 | 2900 | |
| 76 | XBD9.0/30G-GDL | 0.90 | 45 | 2900 | |
| 77 | XBD10.0/30G-GDL | 1.00 | 45 | 2900 | |
| 78 | XBD11.0/30G-GDL | 1.10 | 55 | 2900 | |
| 79 | XBD12.0/30G-GDL | 1.20 | 55 | 2900 | |
| 80 | XBD13.0/30G-GDL | 1.30 | 75 | 2900 | |
| 81 | XBD14.0/30G-GDL | 1.40 | 75 | 2900 | |
| 82 | XBD15.0/30G-GDL | 1.50 | 75 | 2900 | |
| 83 | XBD15.8/30G-GDL | 1.58 | 75 | 2900 | |
| 84 | XBD16.0/30G-GDL | 1.60 | 90 | 2900 | |
| 85 | XBD17.0/30G-GDL | 1.70 | 75 | 2900 | |
| 86 | XBD18.0/30G-GDL | 1.80 | 75 | 2900 | |
| 87 | XBD19.0/30G-GDL | 1.90 | 90 | 2900 | |
| 88 | XBD20.0/30G-GDL | 2.00 | 90 | 2900 | |
| 89 | XBD16.3/35G-GDL | 1.63 | 35 | 90 | 2900 |
| 90 | XBD6.0/40G-GDL | 0.60 | 40 | 37 | 2900 |
| 91 | XBD7.0/40G-GDL | 0.70 | 55 | 2900 | |
| 92 | XBD8.0/40G-GDL | 0.80 | 55 | 2900 | |
| 93 | XBD9.0/40G-GDL | 0.90 | 75 | 2900 | |
| 94 | XBD10.0/40G-GDL | 1.00 | 75 | 2900 | |
| 95 | XBD11.0/40G-GDL | 1.10 | 75 | 2900 | |
| 96 | XBD12.0/40G-GDL | 1.20 | 75 | 2900 | |
| 97 | XBD13.0/40G-GDL | 1.30 | 90 | 2900 | |
| 98 | XBD14.0/40G-GDL | 1.40 | 90 | 2900 | |
| 99 | XBD15.0/40G-GDL | 1.50 | 110 | 2900 | |
| 100 | XBD16.2/40G-GDL | 1.62 | 110 | 2900 | |
| 101 | XBD17.0/40G-GDL | 1.70 | 110 | 2900 | |
| 102 | XBD18.0/40G-GDL | 1.80 | 110 | 2900 | |
| 103 | XBD19.0/40G-GDL | 1.90 | 132 | 2900 | |
| 104 | XBD20.0/40G-GDL | 2.00 | 132 | 2900 |
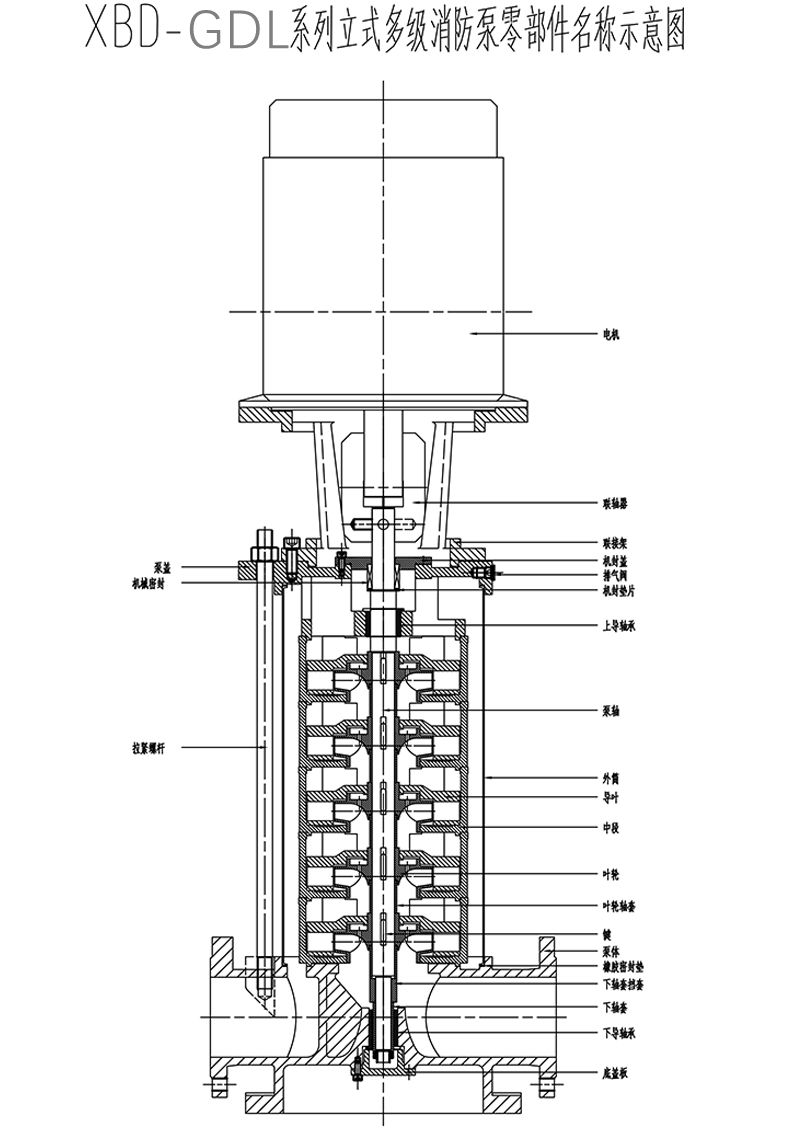
结构图纸

注意事项
输送液体的流量范围:1~120L/s
扬程范围:30~160m
配套功率范围:1.5~200KW
额定转速:2900r/min,2850r/min
1.介质温度:-15℃~80℃;
2.环境温度不大于40℃,相对湿度小于95%;
3.可输送清水或物理化学性质类似于清水的无腐蚀性介质,其固体不溶物不超过0.1%。



上海喷淋消防泵组-电动消防泵
XBD-L型单级单吸消防泵
消防泵双电源机械应急装置启动控制柜